Приветствую Вас,
Гость
Форумчане:
Всего пользователей
|
| Форум Электроинструмент Разборка, ремонт и обзоры электроинструментов Dewalt Дрели DeWALT DWD024 разборка и схема |
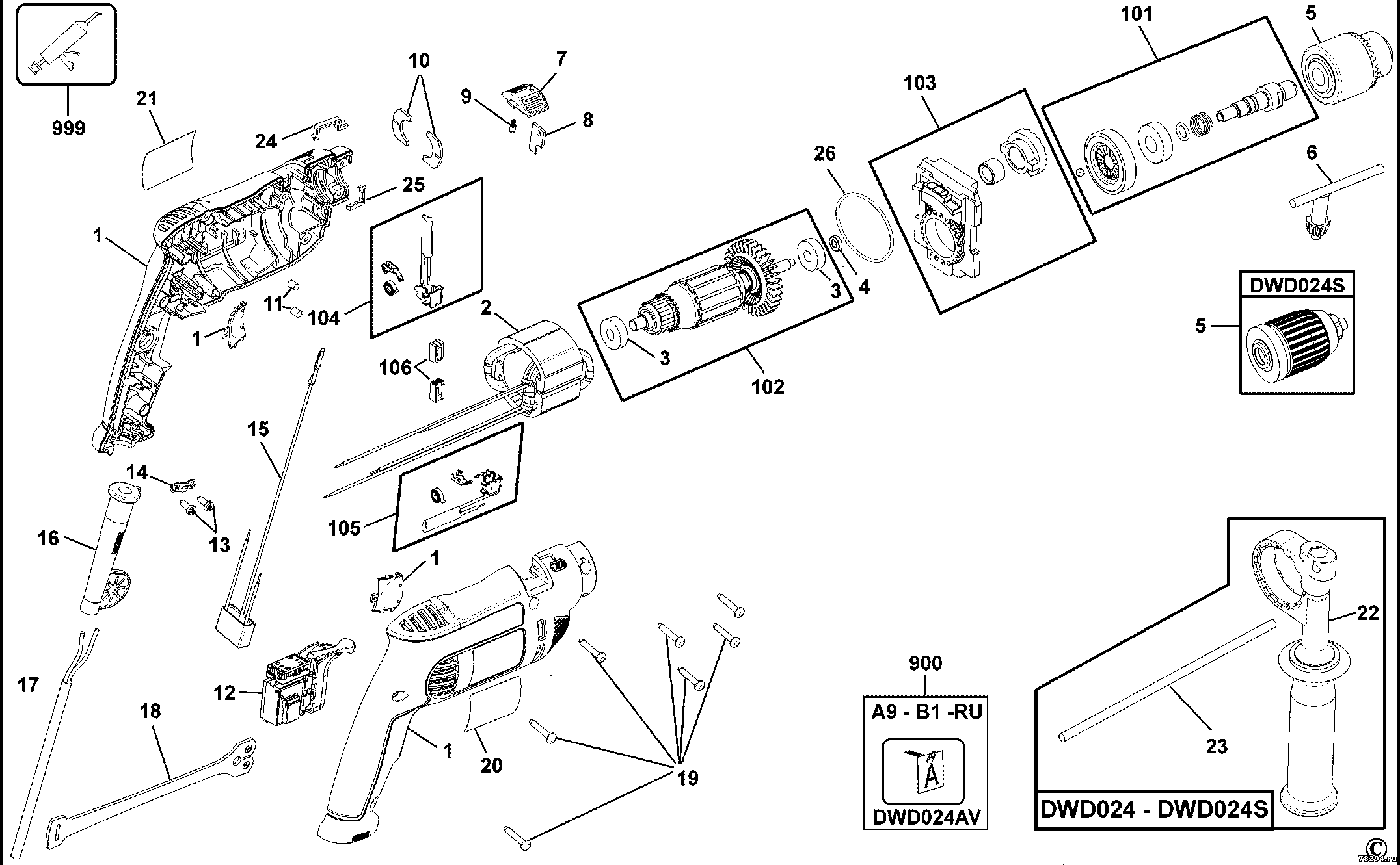
| Дрели DeWALT DWD024 разборка и схема | |||||||||
|
| |||
| |||













