|
Аккумулятор Makita BL1020B 197660-8 10,8 вольт схема
|
|
|
Anat78
|
Дата: Вторник, 01.10.2019, 15:03 | Сообщение # 1
|
Администраторы
Anat78
Подполковник
- Сообщений:8257
- Репутация:68±
|
Аккумуляторы Makita BL1020B 197660-8 10,8 вольт схема и разборка Макита BL1015, BL1016, BL1020, BL1021, BL1040, BL1041, BL1050B схема и разборка

Makita BL1020B 197395-1:
Напряжение 10,8 вольт , емкость 2 ач


Makita BL1021B 197396-9 поставляется как замена Makita BL1020B Напряжение 10,8 вольт , емкость 2 ач


Makita BL1040B 197404-6 197403-8 Напряжение 10,8 вольт , емкость 4 ач


Схема и плата аккумуляторов макита 10,8вольт



78294@mail.ru - 3D печать, крепления для L-boxx Bosch, Festool и многое другое. http://www.78294.ru/forum/48
|
|
|
|
|
|
Anat78
|
Дата: Вторник, 01.10.2019, 15:50 | Сообщение # 2
|
Администраторы
Anat78
Подполковник
- Сообщений:8257
- Репутация:68±
|
Makita BL1015B: Напряжение 10,8 вольт , емкость 1,5 ач нет индикатора заряда


Плата управления и индикатор




Makita BL1016 197393-5: Напряжение 10,8 вольт , емкость 1,5 ач нет индикатора заряда Батарея пришла на смену старой Makita BL1015B


78294@mail.ru - 3D печать, крепления для L-boxx Bosch, Festool и многое другое. http://www.78294.ru/forum/48
|
|
|
|
|
|
|
|
|
|
hairulin174
|
Дата: Воскресенье, 02.01.2022, 16:42 | Сообщение # 7
|
|
|
Кто подскажет на плате аккум 1015 сопротивление r4 какой имеет номинал ???
ответ 10ом
Сообщение отредактировал hairulin174 - Воскресенье, 02.01.2022, 17:14 |
|
|
|
|
|
Anat78
|
Дата: Воскресенье, 23.01.2022, 00:21 | Сообщение # 8
|
Администраторы
Anat78
Подполковник
- Сообщений:8257
- Репутация:68±
|
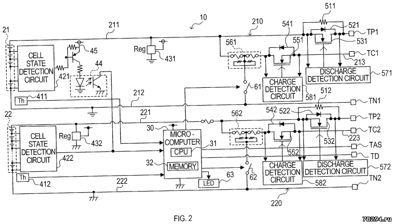
На эту батарею так же есть патент US11183857B2 , выкладываю только чертежи:

78294@mail.ru - 3D печать, крепления для L-boxx Bosch, Festool и многое другое. http://www.78294.ru/forum/48
|
|
|
|
|
|
camdir
|
Дата: Суббота, 12.03.2022, 14:05 | Сообщение # 9
|
|
|
Всем привет. Подскажите пожалуйста номинал резистора r3 для bl1015 и сопротивление термистора RT1. Спасибо.
|
|
|
|
|
|
|
Anat78
|
Дата: Четверг, 14.12.2023, 11:53 | Сообщение # 11
|
Администраторы
Anat78
Подполковник
- Сообщений:8257
- Репутация:68±
|
Еще пару акб отремонтировал, теперь они на 2,6ач:
78294@mail.ru - 3D печать, крепления для L-boxx Bosch, Festool и многое другое. http://www.78294.ru/forum/48
|
|
|
|
|
|
vladimirnm
|
Дата: Воскресенье, 17.12.2023, 14:17 | Сообщение # 12
|
|
|
Пожалуйста, подскажите как проверить 10 вольтовый инструмент макита без аккумулятора с помощью лабораторного блока питания. При подключении 12 вольт загорается светодиод сигнализирующий о низком напряжении аккумулятора, те на средний контакт надо подать напряжение, только какое?
|
|
|
|
|
|
Anat78
|
Дата: Воскресенье, 17.12.2023, 16:54 | Сообщение # 13
|
Администраторы
Anat78
Подполковник
- Сообщений:8257
- Репутация:68±
|
На средний контакт надо подключить термодатчик 10ком
78294@mail.ru - 3D печать, крепления для L-boxx Bosch, Festool и многое другое. http://www.78294.ru/forum/48
|
|
|
|
|
|
vladimirnm
|
Дата: Воскресенье, 17.12.2023, 17:23 | Сообщение # 14
|
|
|
спасибо, работает, подключил на - 12в и все заработало))
|
|
|
|
|
|
|
Anat78
|
Дата: Вторник, 07.05.2024, 10:37 | Сообщение # 16
|
Администраторы
Anat78
Подполковник
- Сообщений:8257
- Репутация:68±
|
Еще прислали пару акб - сделал их на 2,6ач:

78294@mail.ru - 3D печать, крепления для L-boxx Bosch, Festool и многое другое. http://www.78294.ru/forum/48
|
|
|
|
|
|
|
demirisdominanta
|
Дата: Воскресенье, 05.10.2025, 14:47 | Сообщение # 18
|
|
|
Здравствуйте, есть ли на такие аккумуляторы проставки в корпус, для увеличения емкости АКБ?
|
|
|
|
|
|
Anat78
|
Дата: Понедельник, 06.10.2025, 17:20 | Сообщение # 19
|
Администраторы
Anat78
Подполковник
- Сообщений:8257
- Репутация:68±
|
Да конечно, все это продается Хоть под 3 ряда
78294@mail.ru - 3D печать, крепления для L-boxx Bosch, Festool и многое другое. http://www.78294.ru/forum/48
|
|
|
|
|