|
Аккумуляторы Макита 40В литиевые ремонт разборка
|
|
|
Anat78
|
Дата: Понедельник, 17.01.2022, 13:39 | Сообщение # 1
|
Администраторы
Anat78
Подполковник
- Сообщений:8189
- Репутация:67±
|
Аккумуляторы Макита 40В литиевые ремонт разборка
На данный момент макита выпустила в этой линейке 4 акб на 2ач - BL4020, 2,5ач - BL4025, 4ач - BL4040 и 5ач - BL4050
Наиболее очевидное отличие заключается в элементах 21700, используемых в батарее емкостью 4 Ач, по сравнению с ячейками 18650, используемыми в существующей линейке LXT, и новой батарее XGT емкостью 2,5 Ач.
BL4040 191B26-6 Вес 1 кг 133 x 82 x 71 mm 144Wh
В аккумуляторе 4Ач стоят элементы 21700 SONY / MURATA US21700VTC6А 4000mAh
Ток заряда макс., А 9 Ток разряда, А 40 Напряжение макс., В 4,25 Напряжение ном., В 3,6 Напряжение мин., В 2,5 Температура эксплуатации, С -20 - +60
Самое главное эти макиты так же любят блокироваться полностью как и обычные бл1850




BL4025 191B36-3 0.71кг 118 x 77 x 65 mm 90 Wh
Собрана на элементах 18650 Сони 2,5ач

BL4050 191L47-8 Вес - 1,3кг Емкость - 180 Wh 152 x 79 x 92 mm

BL4020 191L29-0
- Емкость 72 Wh
- Время заряд 22 min
- Вес 0,69 kg
- Размеры (P x L x K): 118 x 77 x 65 mm
код 0088381574549

78294@mail.ru - 3D печать, крепления для L-boxx Bosch, Festool и многое другое. http://www.78294.ru/forum/48
|
|
|
|
|
|
|
|
Anat78
|
Дата: Суббота, 02.11.2024, 11:21 | Сообщение # 4
|
Администраторы
Anat78
Подполковник
- Сообщений:8189
- Репутация:67±
|


Makita BL4040

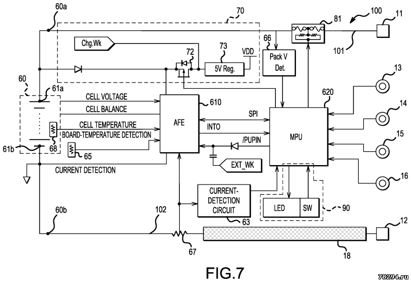
Выше приведено изображение печатной платы («LIPW018 MAIN» в качестве ссылки на печатную плату), некоторая информация: - 2 основных микросхемы (Lapis ML5236 для BMS ячеек, 100GFA - не могу найти номер детали в техническом описании - вероятно, как MCU для связи) - 4 контакта (+ основной разъем для GND и +40 В) * CS (около 3,6 В), нет представления об использовании этого контакта/сигнала * TR (кажется, 1-проводная связь с 2 наборами обменов данными каждые 4 с при подключении к зарядному устройству). Однако не знаю, как считывать данные * DS/WK: около 12 В (не знаю, может быть, для питания деталей на инструментах, работающих от этой батареи) * DT: переход от 0 до 33 В (при полной зарядке около 41 В постоянного тока на основных контактах)
Основные микросхемы на печатной плате: - BMS (подключена к 10 ячейкам и датчику температуры): Lapis ML5236 - MCU: Renesas R5F100GFAFB
Похоже, что 2 микросхемы соединены вместе через uart (BMS --> MCU)
- ML5236 (BMS) и R5F100GFAFB (MCU) соединены с помощью SPI-соединения (SDO, SDI, SCK), что имеет смысл для микросхемы BMS IC для отправки данных (элементов, температуры, состояний...) в MCU для последовательной связи (контакт TR) внешний инструмент (зарядное устройство, инструмент анализа, инструмент...) - MCU затем, похоже, подключен для последовательной связи.
* контакт 11 идет к медным площадкам на печатной плате (TOOLRxD, GND, VDD, RESET) для использования с инструментом 1-wire [1] от Renesas для семейства MCU RL78 (хотя не уверен, что его можно считывать/анализировать). Тогда я не знаю, будет ли EV2300 HDQ работать с этим контактом 1-wire?
* контакт 12 (TOOLTxD), подключенный через цепь к контакту TR на батарее (который является контактом передачи данных на батарее наряду с DS, CS, DT/WK).

- Значения внешних выводов BL4040 ? CS=Chip-Select ? DS=Discharge ? DT/WK=WakeUp ? TR=TRansmission ?
Микроконтроллер: [1] : https://www.renesas.com/jp....uage=en
Патент на коммуникацию батареи. Протокол - полудуплексный UART через TR pin https://patentimages.storage.googleapis.com/cd....3A1.pdf

Потратил некоторое время на обратную разработку этого протокола и добился определенного прогресса.Я могу отслеживать сообщения, отправляемые между аккумуляторами и зарядным устройством, и видеть такие вещи, как номера моделей, отправляемые туда и обратно.Я задокументировал свои выводы на GitHub: https://github.com/Malvineous/makita-xgt-serial Если кто-то достигнет какого-либо прогресса в выяснении структуры сообщений, пожалуйста, дайте мне знать (в идеале отправьте PR с вашими исправлениями/дополнениями или откройте там проблему и расскажите мне, что вы обнаружили.) Я жду детали, чтобы я мог правильно подключить Raspberry Pico к линии TR, так как в данный момент я могу только получать данные, но не отправлять их. Как только я получу детали, я посмотрю, смогу ли я начать отправлять сообщения на аккумулятор, чтобы увидеть, прольет ли это свет на то, как работает протокол, так как в данный момент я не вижу никаких закономерностей в номерах команд.
78294@mail.ru - 3D печать, крепления для L-boxx Bosch, Festool и многое другое. http://www.78294.ru/forum/48
|
|
|
|
|
|
fisherman
|
Дата: Среда, 17.12.2025, 21:18 | Сообщение # 5
|
Пользователи
fisherman
Рядовой
- Сообщений:35
- Репутация:0±
|
Добрый день, попался такой аккумулятор, между главными контактами 37 вольт, на остальных не измерял, т.к. все равно не знаю что должно быть. Инструмент не видит аккумулятор, т.е. не работает. Зарядник тоже не видит. Банки 18650 стоят, на всех 3.7 вольта.
Плату на выброс или может есть вариант лечения без переборки всей платы?
|
|
|
|
|
|
Anat78
|
Дата: Среда, 17.12.2025, 22:15 | Сообщение # 6
|
Администраторы
Anat78
Подполковник
- Сообщений:8189
- Репутация:67±
|
сопротивление термодатчика?
78294@mail.ru - 3D печать, крепления для L-boxx Bosch, Festool и многое другое. http://www.78294.ru/forum/48
|
|
|
|
|
|
fisherman
|
Дата: Четверг, 18.12.2025, 10:15 | Сообщение # 7
|
Пользователи
fisherman
Рядовой
- Сообщений:35
- Репутация:0±
|
Да я как мартышка с гранатой, могу лишь банки приварить, а вот микроэлектронику прозванивать и даже чинить не могу. Мне проще плату поменять будет Тем более на этой плате я не знаю где там контакты термодатчика.
|
|
|
|
|